ПП 3
Характеристики изделия:
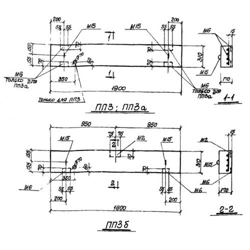
| Параметр | Значение |
|---|---|
| длина | 1900 мм |
| ширина | 310 мм |
| высота | 170 мм |
| вес | 250 кг |
| серия | ТП 905-7 |
Цена:
Рассчитать стоимостьПП 3 Плиты перекрытия по проекту ТП 905-7.
| Параметр | Значение |
|---|---|
| длина | 1900 мм |
| ширина | 310 мм |
| высота | 170 мм |
| вес | 250 кг |
| серия | ТП 905-7 |
ПП 3 Плиты перекрытия по проекту ТП 905-7.
