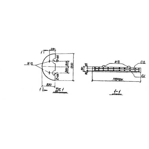
ДК 1

Чертеж изделия:
Характеристики изделия:
ПараметрЗначение
длина1200 мм
ширина590 мм
высота80 мм
вес100 кг
серияТП 905-7

ДК 1 Плиты днища круглые по проекту ТП 905-7.