ЛП 15-17

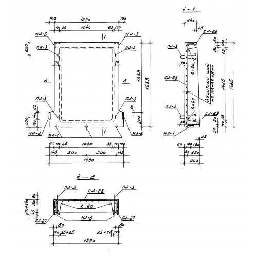
Чертеж изделия:
Характеристики изделия:
ПараметрЗначение
длина1490 мм
ширина1685 мм
высота300 мм
масса663 кг
нормативный документСерия ИИС 04-7

ЛП 15-17 Лестничные площадки по Серии ИИС 04-7.