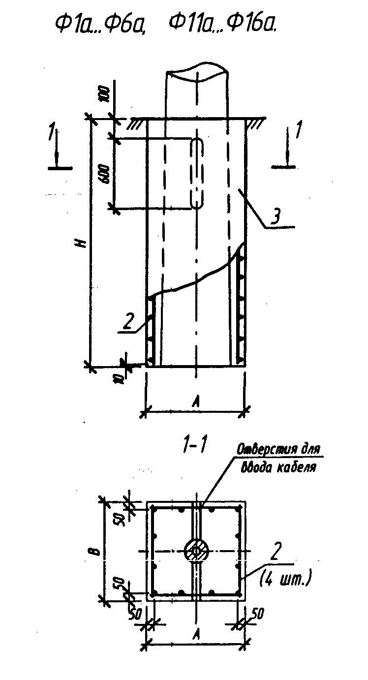
Ф 6 а

Чертеж изделия:
Характеристики изделия:
ПараметрЗначение
Высота Н2000 мм
Длина А1200 мм
Ширина В1200 мм
Вес6575 кг
СерияБ3.507.1-3.04
Норма погрузки на машину (20тн)3 шт
Вагонная норма погрузки-

Фундамент Ф 6 а изготавливается из тяжелого бетона и предназначен для установки стоек СКЦ согласно нормам серии Б3.507.1-3.04.