Р2

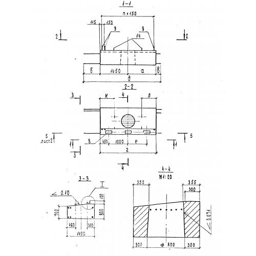
Чертеж изделия:
Характеристики изделия:
ПараметрЗначение
длина3300 мм
ширина1400 мм
высота800 мм
вес5600 кг
нормативный документСерия 3.503.1-95

Р2 Блоки ригеля по Серии 3.503.1-95.