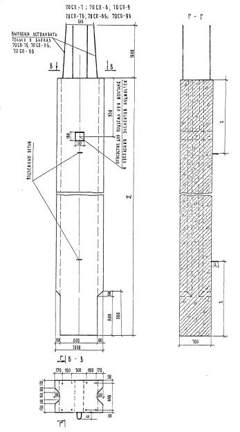
70СП-8

Чертеж изделия:
Характеристики изделия:
ПараметрЗначение
длина7880 мм
ширина1000 мм
высота860 мм
масса12500 кг
нормативный документСерия 3.503-23

70СП-8  Блоки стенок Серия 3.503-23.