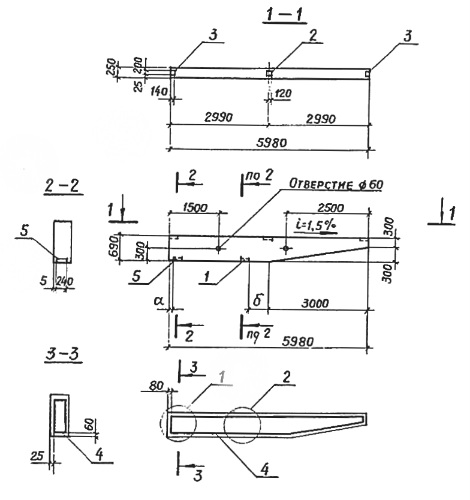
2БН6-1
Характеристики изделия:
| Параметр | Значение |
|---|---|
| Длина | 5980 мм |
| Ширина | 250 мм |
| Высота | 690 мм |
| Масса | 2100 кг |
| Нормативный документ | Серия 3.019.1-1 |
Цена:
Рассчитать стоимость2БН6-1 Балка навеса по Серии 3.019.1-1.
| Параметр | Значение |
|---|---|
| Длина | 5980 мм |
| Ширина | 250 мм |
| Высота | 690 мм |
| Масса | 2100 кг |
| Нормативный документ | Серия 3.019.1-1 |
2БН6-1 Балка навеса по Серии 3.019.1-1.
