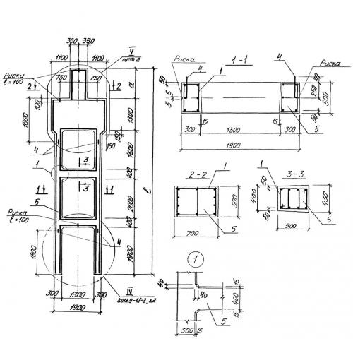
3КД 7 колонна средняя

Чертеж изделия:
Характеристики изделия:
ПараметрЗначение
длина8810 мм
ширина500 мм
высота2200 мм
масса10680 кг
нормативный документСерия 3.013.9-1

3КД 7  Колонны двухветвевые Серия 3.013.9-1.