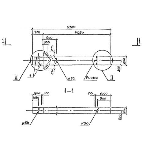
К 52

Чертеж изделия:
Характеристики изделия:
ПараметрЗначение
длина5360 мм
ширина400 мм
высота1140 мм
вес3300 кг
серия1.421.1-1.93

К 52 Колонны по серии 1.421.1-1.93.