ПСЦ 56.390.35
Характеристики изделия:
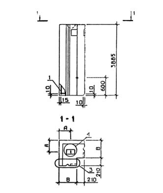
| Параметр | Значение |
|---|---|
| длина | 560 мм |
| ширина | 3885 мм |
| высота | 560 мм |
| масса | 1420 кг |
| нормативный документ | Серия 1.020.1-3пв |
Цена:
Рассчитать стоимостьПСЦ 56.390.35 Панели стеновые цокольные Серия 1.020.1-3пв.
| Параметр | Значение |
|---|---|
| длина | 560 мм |
| ширина | 3885 мм |
| высота | 560 мм |
| масса | 1420 кг |
| нормативный документ | Серия 1.020.1-3пв |
ПСЦ 56.390.35 Панели стеновые цокольные Серия 1.020.1-3пв.