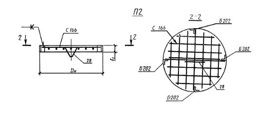
П 2
Характеристики изделия:
| Параметр | Значение |
|---|---|
| длина | 650 мм |
| ширина | 650 мм |
| высота | 50 мм |
| масса | 42,5 кг |
| нормативный документ | ГОСТ 22687.3-85 |
Цена:
Рассчитать стоимостьП 2 Подпятники ГОСТ 22687.3-85.
| Параметр | Значение |
|---|---|
| длина | 650 мм |
| ширина | 650 мм |
| высота | 50 мм |
| масса | 42,5 кг |
| нормативный документ | ГОСТ 22687.3-85 |
П 2 Подпятники ГОСТ 22687.3-85.