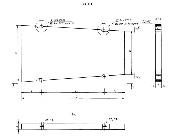
2ПТ 55-30AV
Характеристики изделия:
| Параметр | Значение |
|---|---|
| длина | 5500 мм |
| ширина | 2000/1500 мм |
| высота | 140 мм |
| масса | 3350 кг |
| нормативный документ | ГОСТ 21924.1-84 |
Цена:
Рассчитать стоимостьГОСТ 21924.1-84 Плиты железобетонные предварительно напряженные для покрытий городских дорог
2ПТ 55-30AV Плиты дорожные трапецеидальные для постоянных дорог.